个人
企业
开发者
购买
下载
探索
更多
商城
  • 智能硬件
  • 购物车
  • 我的订单
帮助
  • 联系客服
  • 钻石VIP  HOT
  • 远程协助
  • 帮助文档
控制台
登录/注册
复制成功
贝锐
    更多精彩
  • 账号
  • 服务代码
  • 账户余额
  • 实名认证
  • 登录
    注册

蒲公英

  • 向日葵
  • 蒲公英
  • 花生壳
  • 洋葱头
  • OrayOS
  • 域名
  • 账号
  • 财务
  • 硬件
搜本产品
搜全部
  • 搜索全部文档

行业成功案例

工业物联

陕西汉江机床有限公司

广州复雅机械设备有限公司

东营格泰电力工程有限公司

星逻智能科技无人机巡检项目

智能停车场系统数据传输方案

海尔智慧楼宇

北京宇东宁科技有限公司

中联建设集团股份有限公司

深圳市联建光电股份有限公司

美的智慧楼宇

视频监控

北京心正意诚餐饮管理有限公司

深圳巴士集团股份有限公司

长春远方实业集团

广西东沐科技有限公司

高老九

盐城市公安局

厦门致力于学在线教育科技有限公司

Helens海伦司

大众迷你仓

天鲜配

浙江小牛寻宝环境科技有限公司

重庆大川宏创实业有限公司

金华车猫智能科技

上海玺越传媒科技有限公司

跨境协作

中集德立物流

企业办公

纳智捷(杭州)汽车有限公司

北京红亚华宇科技有限公司

中山市创杰软件有限公司

广州中鸣数码科技有限公司

上海普创电子设备有限公司

桂林智神信息技术有限公司

爱斯佩克

帼航北方(北京)科技有限公司

深圳市杰高德科技有限公司

广州智科网络有限公司

中国地质大学

智慧能源

河北钢谷

山西英泰立达科技有限公司

西安市长安区自来水公司

新疆维泰热力股份有限公司

设备嵌入

H3C

飞鱼星

网是科技(netcore磊科)

远程医疗

淄博市临淄区人民医院

深圳市亚新科技有限公司

北京京宜安有限公司

合富集团

智联AI

X1 Pro安装及使用Orayclaw教程

用手机让Claude写代码,还能直连本地Web服务!

场景解决方案

智慧工业

贝锐蒲公英异地组网:解决钻机、塔吊等大型工程设备远程维护难题!

贝锐蒲公英助力智慧农业:实现自动化环控设备远程互联

安防视频

蒲公英视频组网教程

远程查看视频监控服务

信息化交通监控、收费、通信无忧

轻松管理连锁门店教程

蒲公英助力电子公交站牌联网远程运维,打造智慧出行新趋势

智慧交通

共享停车位数据传输解决方案

公共自行车租赁管理解决方案

工业物联

组建工厂多分支间异地虚拟局域网

异地组网助力物流科学管理及信息化

物流系统科学管理解决方案

远程采集工控设备数据解决方案

异地组网实现工控设备互通解决方案

自助终端实现数据自动收集

城市管廊数据传输的应用

R300应用于城市楼体灯光联网亮化工程

输油管道数据传输解决方案

分支连锁

组建连锁酒店异地虚拟局域网

异地连锁门店数据备份解决方案

异地组网助连锁经营整合更高效

协同办公

实现企业总分部大型网络互联互通

组建学校私有局域网让教育无阻

异地访问OA系统方案

远程访问公司系统解决方案

总部旁路,分部一级组网方案

企业远程办公解决方案(P5+访问端)

多分支机构间异地数据互通教程

SVN源码系统数据同步解决方案

旁路模式轻松实现企业分部与总部互通

多分支企业OA协同办公解决方案

企业进销存系统数据共享方案

企业VOIP系统通讯方案

纯软件组网访问管家婆

蒲公英异地组网协助小区开展疫情防控工作

企业分部间轻松访问OA、ERP等系统

组建异地虚拟局域网,助你远程移动办公

出差人员远程办公教程

企业居家办公解决方案

没有公网IP,如何远程访问企业混合云?

企业远程管理解决方案

蒲公英+向日葵助力企业远程办公

多分支机构快速获取企业网络资源

智慧医疗

异地组网让医疗器械管理如行云流水

医药连锁系统信息化管理解决方案

异地远程医疗让健康无忧

助力医疗行业远程访问,区域医疗信息畅通互访

医疗机构异地信息互联共享解决方案

个人场景

低成本打造个人私有云盘

异地组网,生活娱乐必备神器

远程连接FTP方案

异地游戏解决方案

考勤系统集中化管理解决方案

SOHO人员异地获取文件解决方案

公司文件共享解决方案

娱乐管理系统信息化解决方案

税务系统旁路组网方案

硬件设备

工业类硬件

R300系列

R300系列使用教程

二层组网模式

异地组网-远程监控PLC教程

内置卡激活充值教程

R100

R100A使用教程

企业类硬件

X5

X5参数

X5 - 上网设置指南

X5 - 私有云指南

X5-组建企业NAS私有云

X5 - 异地组网指南

X5 - 远程打印指南

X5Pro

X5 Pro-上网设置教程

X5 Pro-多地办公指南

X5Pro-U盘/硬盘搭建私有云

X5Pro-远程打印

X5Pro-远程访问NAS(旁路)

X6

X6参数

P5

P5 - 远程打印指南

P5 - 私有云搭建

P5-企业办公

P5-工业数据采集

B100

B100接线教程

G5

G5 - 上网设置指南

G5 - 远程打印指南

G5 - 私有云指南

G5 - 异地组网指南

A20

A20使用教程

企业WiFi

网页认证

G300

G300-上网设置教程

G300-多地办公指南

G300-远程访问NAS(旁路)

SOHO类硬件

X1 Pro

远程打印

远程开机

串流游戏

私有云

X1

X1参数

X1联网教程

X1玩法介绍

X1-远程访问私有云指南

X1-远程访问NAS指南

X1-远程打印指南

X1-远程访问串口设备指南

X1搭配Xbox One S,没有主机也能远程游戏

X1-通过手机APP快速搭建NAS的远程访问

X1-通过手机APP快速搭建移动硬盘的远程访问

X3

X3参数

X3-上网设置教程

X3-私有云指南

X3-远程访问NAS指南

X3A

X3A-私有云指南

X4C

X4C-上网设置指南

X4C-异地组网指南

X4C-远程文件共享

X4C-远程访问NAS

个人流量卡激活教程

X4

X4上网教程

硬件教程

虚拟串口功能使用帮助

无线中继功能

路由器接线联网方式

路由器使用注意事项

第三方智能硬件使用帮助

OpenWrt对应架构安装程序

OpenWRT & 蒲公英异地组网插件教程

软件帮助

客户端

贝锐蒲公英客户端 for Windows教程

贝锐蒲公英客户端 for macOS教程

贝锐蒲公英客户端 for Android 教程

贝锐蒲公英客户端 for iOS教程

贝锐蒲公英客户端 for Linux教程

贝锐蒲公英客户端Docker版使用教程

贝锐蒲公英客户端APP文件快速共享

极空间NAS-蒲公英安装使用帮助

贝锐蒲公英游戏版客户端 for iOS

贝锐蒲公英游戏版客户端 for Android

贝锐蒲公英游戏版客户端 for Windows

贝锐蒲公英客户端APP文件共享

群晖NAS-蒲公英安装使用帮助

群晖NAS标准版(无虚拟网卡)安装使用帮助

服务器端

企业版服务器端Docker版使用教程

Windows服务器端使用教程

Linux服务器端使用教程

云应用功能

管理端

手机端管理APP远程开机教程

功能应用

异地组网

组网教程

(软件+软件)组网教程

公网组网配置教程

(硬件+硬件)组网教程

如何使用路由器组建智能网络

通过蒲公英把NAS打造成私有云盘

异地组网教程(硬件+软件)

异地组网功能介绍

企业远程办公纯软件组网帮助

纯软件组网实现外网访问OA系统

远程监控PLC教程

通过异地组网实现主机映射功能

进销存系统搭建教程

管家婆系统搭建教程

路由器+U盘搭建私有云盘教程

nPlayer手机播放器访问文件共享的教程

ES文件浏览器访问文件共享的教程

通过配置UPNP/DMZ方法优化NAT类型来提升P2P成功率

异地专网

功能设置

如何快速实现文件共享/备份

手机客户端更多使用场景

P2P成功率提升教程

购买蒲公英服务后重启异地组网服务教程

网络出口设置教程

蒲公英文件共享搭建私人影院

本地管理

本地管理功能

如何进入本地管理

路由器本地管理功能介绍

系统信息

路由器信息

终端信息

组网信息

网络信息

网络设置

上网设置

局域网设置

WiFi设置

网络检测

备用网络使用教程

IPv6设置

端口VLAN

高级设置

端口映射

DMZ

静态路由

VLAN

SNMP

VPN客户端

PPTP VPN客户端

L2TP VPN客户端

IPSec VPN客户端

云管理

云管理介绍

路由器云管理页面介绍

路由器功能介绍

异地组网

成员列表

访问控制

重启组网服务

转发设置

通信端口

系统设置

系统信息

修改密码

远程协助

串口设置

系统升级

组件升级

重启设备

备份与恢复

SSH管理

网络设置

上网设置

WiFi设置

局域网设置

DHCP设置

网络MTU

智能QoS

MAC地址克隆

自定义Hosts

静态路由

端口映射

DMZ

UPnP设置

用户组设置

策略路由的作用及设置

双机热备

负载均衡的作用及设置

网络检测

NAT加速

VLAN

行为管理

上网权限控制

域名访问控制/网址访问控制

网址浏览记录

智能流量控制

安全管理

ARP绑定

ACL规则

防火墙设置

连接数限制

应用工具

网络诊断

SNMP服务

日志中心

应用中心

应用中心

花生壳内网穿透

向日葵远程开机教程

向日葵远程开机(新)

向日葵远程开机(旧)

远程文件共享

远程云打印

迅游加速器

对象管理

分组管理

控制台

软件成员

用户源使用教程

认证源使用教程

软件成员创建和使用

硬件成员

终端清单

模版管理

硬件列表

异地网络

什么是异地组网?

自定义网络使用教程

网络资源配置与访问教程

传输加密设置使用教程

备用旁路功能

DNS解析功能说明与使用步骤

UID与MAC地址绑定使用教程

二层组网说明与支持清单

网络终端

运维通道版使用教程

WiFi管理

企业WiFi

网页认证

威胁情报

软件终端

动态策略

监控告警

告警策略使用教程

第三方消息推送帮助

日志审计

成员日志&管理员日志

系统管理

消息通知配置教程

企业定制教程

管理员权限功能使用帮助

账号安全体系相关功能说明

服务管理

WebVPN使用帮助

蒲公英网盘使用教程

SaaS应用全球加速

联机游戏

PC联机教程

贝锐蒲公英游戏版客户端 for Windows

星露谷物语+蒲公英局域网游戏联机教程

泰拉瑞亚Terraria+蒲公英局域网游戏联机教程

杀戮尖塔2-蒲公英局域网联机教程

我的世界国际版+蒲公英局域网游戏联机教程

夜族崛起+蒲公英局域网游戏联机教程

手游联机教程

贝锐蒲公英游戏版客户端 for Android

战魂铭人+蒲公英局域网游戏联机平台联机教程

恶果之地+蒲公英局域网游戏联机平台联机教程

泰拉瑞亚Terraria+蒲公英局域网游戏联机平台联机教程

元气骑士+蒲公英局域网游戏联机平台联机教程

我的世界+蒲公英局域网游戏联机平台联机教程

NBA 2K 20+蒲公英局域网游戏联机平台联机教程

铁锈战争+蒲公英局域网游戏联机平台联机教程

Mindustry(像素工厂)+蒲公英局域网游戏联机平台联机教程

特种部队小组2+蒲公英局域网游戏联机平台联机教程

炸弹小分队+蒲公英局域网游戏联机平台联机教程

僵尸突击队+蒲公英局域网游戏联机平台联机教程

Among US +蒲公英局域网游戏联机教程

Dual +蒲公英局域网游戏联机教程

星露谷物语局域网游戏联机教程:蒲公英虚拟局域网一键组网

物联网卡

企业物联卡

企业物联卡用户指南

蒲公英企业物联网SIM卡使用教程

中国联通物联卡-人联网应用限制访问清单

中国联通物联卡-人联网应用限制IP&网段

企业内置卡激活充值教程

【视频】企业内置卡激活流程

个人物联卡

贝锐蒲公英小程序介绍

购买贝锐蒲公英个人物联网卡套餐

【视频】个人内置卡激活流程

个人流量卡激活教程

贝锐蒲公英个人物联网卡常见问题

常见问题

游戏联机

【OPPO】保持蒲公英APP(蒲公英客户端&游戏联机平台)在手机后台运行

【VIVO】保持蒲公英APP(蒲公英客户端&游戏联机平台)在手机后台运行

【华为】保持蒲公英APP(蒲公英客户端&游戏联机平台)在手机后台运行

【魅族】保持蒲公英APP(蒲公英客户端&游戏联机平台)在手机后台运行

【三星】保持蒲公英APP(蒲公英客户端&游戏联机平台)在手机后台运行

【小米】保持蒲公英APP(蒲公英客户端&游戏联机平台)在手机后台运行

如何注册蒲公英登录的贝锐账号

我的世界国际版 Minecraft局域网游戏联机教程

星露谷物语 Stardew Valley局域网游戏联机教程

泰拉瑞亚Terraria局域网游戏联机教程

异常情况

蒲公英游戏版本地服务异常排查方案

软件应用

云应用问题排查流程

贝锐蒲公英客户端APP访问共享文件时提示错误

贝锐蒲公英客户端提示“IP冲突”解决方案

Windows版客户端安装失败解决方案

客户端提示“服务已禁用”如何处理

提示“蒲公英客户端成员数不足,请联系管理员”如何处理?

访问端APP如何访问网络内成员

客户端常见问题

手机客户端如何进行文件传输

在Windows Server系统上配置路由转发功能实现蒲公英旁路转发

贝锐蒲公英客户端提示“访问超时“解决方案

Windows企业版访问端安装时提示找不到 Wlanapi.dll,无法继续执行代码

macOS企业版访问端提示”DNS权限受限“解决方案

提示“异地组网授权数不足”如何处理?

异地组网

什么是异地组网?

智能网络里怎么为软件成员指定固定虚拟IP

客户端提示”当前账号未加入网络,联系网络管理员”解决方法

忘记异地组网账号的密码怎么办

异地网络中如何升服务级别

Win7蒲公英用户因系统证书导致连接服务器失败的解决方法

如何增加删除组网中成员

如何添加客户端成员

如何利用蒲公英组网,实现无Internet访问内网设备

Windows系统防火墙环境下使用异地组网

如何计算异地组网费用

如何设置组网线路

组网常见问题

如何获取webhook

异地组网改版升级FAQ

如何设置硬件成员连接类型为强制转发

什么是网络类型

H3C智能硬件使用帮助

硬件设备

路由器常见问题

路由器如何实现USB共享文件

如何修改路由器绑定的贝锐账号

如何查看蒲公英路由器下连接的设备

如何开启路由器的WAN口转发功能

路由器网段冲突解决方案

如何重置G100 / G300路由器

如何开启上层设备的UPnP功能

路由器如何同时使用无线中继和异地组网功能

如何购买路由器

第三方智能硬件如何获取PID

视频专区

硬件帮助

企业办公-蒲公英实现多地互访

X5Pro搭配U盘硬盘搭建私有云

蒲公英搭配NAS搭建私有云

蒲公英路由器 远程打印教程

蒲公英路由器上网设置

如何通过蒲公英路由器远控PLC设备

X1搭配NAS搭建私有云

X1搭配U盘/硬盘搭建私有云

X4C玩法操作指南

X4C视频监控组网教程

R300A玩法操作指南

蒲公英X3A使用教程

路由器连接存储设备搭建个人云盘(视频)

路由器接线上网设置(视频)

X1Pro文件快速共享教程

X1文件快速共享教程

蒲公英K1 远程开关设备操作教程

软件帮助

个人版访问端教程

企业版访问端教程

服务器端软件教程

异地组网

路由器组网教程(硬件+硬件)

路由器+访问端组网教程(视频)

异地组网教程(视频)

异地专网连接西门子S7-1500系列PLC教程

异地专网连接施耐德Modicon M580系列PLC教程

视频监控组网教程

个人用户异地组网

企业用户异地组网

蒲公英运维通道使用教程

物联网SIM卡服务

X4Pro 5G充值激活流程

R300S多网卡绑定充值

企业内置卡激活流程

个人内置卡激活流程

游戏联机

蒲公英游戏版使用教程

饥荒+蒲公英局域网游戏联机教程

胡闹厨房2+蒲公英局域网游戏联机教程

星露谷物语+蒲公英局域网游戏联机教程

我的世界+蒲公英局域网游戏联机教程

夜族崛起+蒲公英局域网游戏联机教程

日志审计 


取消

回到首页

快速入门

 

个人用户

 

如何快速远控?

 

如何用识别码发起远程协助?

 

如何绑定与解绑主机

 

无人值守

 

如何使用手机远程控制手机?

 

什么是通道连接

 

企业用户

 

企业版-如何快速远控

 

向日葵企业免费版使用指南

 

企业远程办公解决方案

 

IT运维解决方案

 

向日葵+易维工单,一体化融合新篇章

 

技术支持解决方案(升级版)

 

常见问题

 

企业版和个人版的区别是什么?

 

个人使用是否有必要购买企业版?

 

我要选择什么企业版本?

 

团队版

 

个人版用户答疑vol.3

 

企业版用户答疑合集Vol.1

 

企业版用户答疑合集Vol.2

 

个人版用户答疑vol.1

 

个人版用户答疑vol.2

 

工具包使用细则

 

如何绑定微信公众号接受消息

 

安全体系

 

守护每一台设备:安全设置完整指南

 

全链路安全防护:事前预警、事中响应、事后追溯

 

安全靠人更靠己:高效防护从好习惯开始

 

操作帮助

 

软件应用

 

电脑端应用

 

性能模式

 

敏感进程运行告警

 

多协议远控

 

电脑如何远程文件

 

电脑如何远程控制手机

 

电脑如何远程CMD/SSH

 

如何提高电脑被他人远协的安全设置

 

如何远程更新向日葵客户端

 

客户端锁定与解锁办法

 

如何使用ftp共享文件夹

 

企业客户端如何使用屏幕录像

 

如何安装macOS客户端

 

远程控制Mac OS 10.14或更高版本系统

 

向日葵Linux因安装依赖问题无法安装成功的解决办法

 

向日葵适配Intel vPro®远程管理主机电源

 

免密远控

 

【MCP进阶玩法】Skill配置

 

【终极秘籍】向日葵MCP大全

 

MCP服务器配置指南

 

接管设备

 

向日葵端口映射功能指南

 

向日葵控控远程文件

 

超级桌面功能指南

 

隐私屏

 

云存储

 

电脑如何发起RDP

 

双向语音通话教程

 

CentOS8或Ubuntu17.10以上系统无法通过向日葵被远控解决方案

 

如何设置客户端访问密码

 

如何将识别码添加到设备列表

 

如何将个人版软件替换为企业版客户端

 

多屏控多屏

 

如何使用向日葵云桌面

 

被控端无声音解决方法

 

USBIP映射

 

Linux企业主被控重要依赖安装指引

 

Windows多用户同时被控设置指南

 

设备列表授权管理

 

换边控制

 

数位板映射

 

手柄映射

 

成为副屏

 

文件闪传功能指南

 

移动端应用

 

手机/平板如何远程桌面

 

手机/平板如何远程文件

 

手机/平板如何远程摄像头

 

手机/平板如何远程CMD或SSH

 

手机/平板如何投屏到电脑

 

游戏键盘如何使用

 

虚拟鼠标如何使用

 

Android版控制端常见问题

 

iOS版控制端常见问题

 

控制端APP添加智能硬件注意事项

 

android版客户端常见问题

 

iOS版客户端常见问题

 

Android版客户端如何保持在线

 

AR眼镜安装领航APP

 

如何设置截屏权限申请不再提醒?

 

Android自动操作功能使用帮助

 

iOS控制端私有化如何设置服务器

 

远控Android的全流程安全措施

 

PC远控Android支持文字输入

 

保活措施

 

智能硬件

 

开机硬件

 

开机插座/插线板常见问题

 

【开机系列】支持向日葵远程开机的各大电脑厂商设备汇总

 

开机棒常见问题集合文档

 

开机棒常见问题

 

开机插座/插线板如何配置网络

 

如何解决多网卡环境下局域网扫描无法发现向日葵硬件问题

 

PDU支持的温湿度传感器型号

 

开机盒子常见问题

 

WiFi连接超时怎么办?

 

无网远控

 

控控常见问题

 

如何解决智能远控设备USB驱动兼容性问题

 

智能远控设备支持的分辨率和刷新频率

 

向日葵控控A2通过WiFi绑定后,想重置WiFi怎么办?

 

向日葵控控A2安装连线后,提示灯为白灯闪烁状态?(视频)

 

向日葵控控A2如何通过4G网卡上网

 

如何给控控A2设置静态IP

 

如何使用智能远控设备远程开机

 

向日葵智能远控硬件如何解决鼠标偏移问题

 

智能远控设备常见问题

 

如何通过控控远程解锁手机屏幕

 

智能遥控

 

UUPro用户使用须知

 

管理平台

 

个人用户

 

个人设备分组使用指南

 

个人AI智能远控审计使用指南

 

个人云录像使用指南

 

个人管理平台简介

 

企业用户

 

账号管理与安全

 

增值服务授权

 

云录像

 

标准全球节点配置

 

企业微信授权教程

 

飞书授权配置说明

 

钉钉授权配置说明

 

账号体系-角色权限2.0帮助

 

如何为企业成员分配管理权限

 

设备部署

 

批量部署

 

软件定制

 

无痕运行软件

 

升级已部署设备

 

设备管理

 

消息群发

 

文件分发

 

屏幕墙·新版

 

vPro远程开机及带外远控

 

设备分组

 

中断连接

 

设备云策略

 

IT资产管理

 

硬件信息

 

硬件告警

 

软件进程告警

 

安全审计

 

安全审计

 

设备上下线通知

 

订阅远控日志报表

 

AI智能远控审计

 

坐席管理

 

坐席管理

 

安全设置

 

账号登录安全

 

企业域名隔离

 

登录设备管理

 

网页远控

 

网页控网页

 

脚本管理

 

分发企业脚本

 

软件手册

 

Windows

 

Windows个人版使用手册

 

向日葵SOS使用手册

 

Windows企业版控制端使用手册

 

Windows企业版客户端使用手册

 

Android & iOS

 

控制端Android版使用手册

 

控制端iOS版使用手册

 

客户端Android版使用手册

 

客户端iOS版使用手册

 

领航APP使用手册

 

向日葵Android定制客户端使用手册

 

向日葵Android定制签名客户端使用手册

 

macOS

 

macOS个人版使用手册

 

Linux及国产化系统

 

Linux 个人版(命令行版本)使用手册

 

Linux 个人版(图形版本)使用手册

 

Linux企业客户端服务器版安装及使用指引

 

管理平台

 

管理平台功能简介

 

开启水印策略教程

 

向日葵隐性水印查看教程

 

智能硬件

 

开机硬件

 

插座|插线板

 

插线板P2使用手册

 

插线板P1使用手册

 

开机插座C1使用手册

 

开机插座C2使用手册

 

开机插座C1Pro使用手册

 

开机插座C1Pro(蓝牙版)使用手册

 

开机插座C2(蓝牙版)使用手册

 

插线板P1Pro使用帮助

 

智能PDU P8二代使用手册

 

插线板P4使用手册

 

智能PDU P8使用手册

 

开机盒子|开机棒

 

开机盒子使用手册

 

开机棒(独享版)使用手册

 

开机棒(局域网版)使用手册

 

无网远控

 

Q2Pro使用手册

 

控控A2使用手册

 

控控A2(蓝牙版)使用手册

 

Q1使用手册

 

Q2Pro(蓝牙版)使用手册

 

其他

 

UUPro使用手册

 

智能远控鼠标(蓝牙版)使用手册

 

智能远控遥控器使用手册

 

向日葵远程摄像头使用手册

 

HarmonyOS

 

向日葵远程控制HarmonyOS NEXT版 使用帮助

 

案例中心

 

场景案例

 

远程运维

 

远程维护手持PDA,为客户提供精准技术支持

 

天波技术集成向日葵实现远程运维智能安卓设备

 

向日葵助力国惠华光,破解远程运维难题

 

华测导航基于安卓系统的测量手簿,节约运维成本的“奥秘”

 

股票软件远程运维方案,破解分散型客户售后难题

 

供热步入季节高峰,能源企业如何面对远程运维压力?

 

向日葵为中数通提供智能运维新模式

 

向日葵牵手云软完美解决在线客服系统远控问题

 

大象融媒搭配向日葵实现批量远程管理服务器

 

向日葵助力安徽航天搭建IT综合运维管理平台

 

向日葵为管家婆带来高效售后服务方案

 

良科应用向日葵搭建远程维护系统,让设备触手可及

 

向日葵为国土局提供无网远控解决方案

 

老娘舅连锁餐饮门店远程控制助力IT运维

 

金融机构内网远程运维如何开展?

 

大型通信设备厂商是如何搭建一线基站设备远程维护体系?

 

贝锐向日葵赋能煤炭能源行业,无人值守设备高效远程运维

 

技术专家远程指导,远程控制如何赋能煤矿自动化企业运维环节

 

向日葵远程控制赋能农机设备运维:高效诊断修复、缩短停机时间

 

远程客服

 

太阳花客服系统嵌入向日葵远程控制,让服务更优质

 

广联达内嵌向日葵使售后服务更简单快捷

 

向日葵完善顺网科技售后运维方式

 

杭州翘楚内嵌远程协助提升客服系统功能

 

向日葵助力容联七陌提升售后服务体验

 

低成本搭建高效技术支持体系,贝锐向日葵赋能数字认证服务

 

远程办公

 

识微数字科技携手向日葵,实现多方协同办公

 

康拓普内嵌向日葵远程控制,让协同办公更流畅

 

向日葵助力OPPO建立员工高效协作平台

 

美的集团IM工具内嵌向日葵远控实现高效协作

 

湖北百旺金赋集成向日葵打造企业内部高效沟通软件

 

向日葵助力融云使企业协作更高效

 

向日葵携手万科集团搭建企业沟通协作平台

 

向日葵助力华为提升协作效率

 

远离疫情,向日葵助力创维数字有序复工

 

无人值守

 

联著实业利用向日葵远控打造远程运维系统

 

向日葵成为卓策科技管理数字标牌的新技能

 

广州绿怡实现智能远程管理无人值守设备

 

SiTV远程管理维护户外广告屏大法—向日葵

 

远程电源管理、高效运维,贝锐向日葵助力自助拍照一体机远程管理

 

无人值守设备如何高效运维?需搞定部署、管理、监控三个难题

 

行业案例

 

连锁零售

 

向日葵让棠宝自动贩卖机实现运维智能化

 

紫燕食品使用向日葵让连锁远程维护与管理更省心

 

收银终端内嵌向日葵实现远程运维

 

如何运维管理上千门店的智能设备?泡泡玛特这样选择远控方案

 

连锁行业如何做好全局IT资产管理?一线设备高效运维攻略

 

前置仓设备如何远程管理?叮咚买菜引入贝锐向日葵搭建高效运维体系

 

上万台智能收银设备,零食连锁品牌的IT管理体系是如何进化的?

 

智能收银设备如何远程维护支持?向日葵SDK嵌入方案赋能新零售

 

场景案例:可视化设备监控+高效远程运维,贝锐向日葵赋能连锁行业

 

无人值守商用设备,新零售业态下的运维痛点如何解决?

 

IT互联网

 

远程控制SDK融入核心业务,向日葵赋能头部数字化服务商

 

知名游戏厂商如何借助贝锐向日葵搭建内部远程协助体系?

 

群晖NAS=远程开机神器+私有云

 

向日葵携手上海矽昌搭建简易家庭私有云

 

向日葵助力ICC建立安全远程检测平台

 

携手贝锐向日葵,安恒信息如何打造高效售后技术支持服务体系?

 

携手贝锐向日葵,紫讯科技如何搭建远程技术支持体系?

 

单日上线1万+的大型企业软件服务,如何搭建远程技术支持业务体系?

 

金融科技企业的远控需求有哪些?贝锐向日葵是如何打造解决方案的?

 

远控SDK赋能,OPPO Find N5折叠旗舰手机采用贝锐向日葵方案

 

天守携手贝锐向日葵,远程控制赋能核心安全业务

 

全栈式云平台厂商如何搭建高效服务体系?远程控制赋能超融合系统

 

超5万家客户企业如何高效实施服务?易点淘的“远程诀窍”

 

跨境物流体系,如何实现仓储设备高效运维?

 

助力反诈平台搭建,贝锐向日葵私有化部署场景案例解析

 

向日葵×亿格云:效率+安全双翻倍!解锁办公远控升级体验

 

智慧医疗

 

向日葵在数字化手术室的应用:实时手术直播

 

向日葵携手医疗设备提供商布局远程影像诊断系统

 

简单高效低成本,控控A2实现医疗设备远程操作指导

 

安全可控,即插即用,向日葵控控A2实现医院信息系统高效远程运维

 

实时远程手术直播,向日葵控控A2助力建设远程医疗视频平台

 

健康一体机远程医疗分析运维方案

 

向日葵远程控制如何助力类脑医学研究?

 

贝锐向日葵赋能医疗设备厂商,远程控制成运维演示利器

 

智慧交通

 

ETCP无人值守停车场解决方案

 

首中投资公司停车管理系统远程运维案例

 

向日葵联手停简单打造无人值守停车系统

 

浙江沪杭甬高速公路联手向日葵构建收费系统的远程维护体系

 

铁路车辆巡检维护如何远程开展?贝锐向日葵远程控制提供AR方案

 

远程控制如何赋能智能驾驶?产研阶段远程调试是刚需

 

软硬一体方案搭建内网运维,贝锐向日葵私有化部署赋能浙江中车

 

赋能停车场智能设备运维,贝锐向日葵有哪些亮点?

 

智慧教育

 

向日葵联手威科姆打造智慧教室

 

隔着屏幕也可随时远程互动指导?远程控制技术助力基础学科教育

 

教学平板设备如何实现实时互动指导?专业远程控制SDK方案赋能学而思

 

深度学习、AI计算硬件要求高,大学生如何低门槛远程科研

 

智能制造

 

向日葵远程控制为郎仁汽车诊断仪助力

 

极夜通过向日葵远程软件打造云共享主机

 

泉顺科技开启连接云主机新形式

 

信义玻璃应用向日葵远程技术监控无人生产系统

 

【智能制造】简单高效,向日葵携手柏楚推出机床远程诊断服务

 

海量设备集中运维,向日葵远程控制赋能农牧产品加工产业链

 

知名新能源车企如何搭建跨境综合远程控制业务体系?

 

远程控制如何赋能制造业?可视化产线设备运维降本增效

 

制造业出海,如何搭建高效跨境远程技术支持体系?

 

端API接入,贝锐向日葵助力制造业远程巡检运维

 

远程控制赋能工业自动化,贝锐向日葵私有化部署案例

 

秋收农忙,农业自动化背后如何通过远程运维赋能?

 

实现跨地区技术支持,远程控制如何赋能导航定位行业?

 

电竞游戏

 

向日葵助力征途X2,让游戏走着也能玩

 

向日葵携手海米欧打造无人值守游戏站

 

IT运维三大王牌怎么选?一文看懂向日葵小宇宙会员、行业青春、行业版

 

赋能盟识科技自动驾驶系统远程调试

 

圆通速递打造远程运维体系

 

潍坊农商银行高效开展内网远程运维

 

连锁餐饮行业如何实现远程IT运维?

 

万灵医疗基于向日葵的眼科远程诊断系统

 

企业如何极速应对远程办公需求?

 

向日葵助力乐金连锁门店实现IT运维管理变革

 

科大讯飞应用向日葵远程方案提高运维效率

 

解决方案

 

IT运维

 

无人值守设备维护解决方案

 

远程运维解决方案

 

制造行业解决方案

 

机房远程运维解决方案

 

政务服务终端运维解决方案

 

智慧物流解决方案

 

数控机床远程维护解决方案

 

连锁酒店运维管理解决方案

 

零售行业解决方案

 

连锁酒店行业IT运维解决方案

 

IT互联网解决方案

 

电竞游戏解决方案

 

商用安卓设备如何远程管理?向日葵助力企业打造安全运维体系

 

大批量设备如何运维管理?多窗口同时远控提效显著

 

大批量设备如何高效管理运维?贝锐向日葵四项功能赋能

 

大批量设备IT运维管理如何提升效率?贝锐向日葵提供AI方案

 

IT运维岗如何“无痛”度过国庆假期?贝锐向日葵提供专业远程

 

企业如何快速搭建远程IT运维体系,应对节假日业务?

 

机房远程电源监管解决方案

 

如何通过远程控制实施批量设备运维管理?用好这几个功能很重要

 

应对连锁运维四大问题,贝锐向日葵IT运维方案赋能连锁零售行业

 

组织庞大、人员众多,如何解决IT远程管理难题?

 

规避风险,提高效率,IT设备管理如何实现“软硬兼顾”?

 

远程IT管理技巧:大量IT设备如何分组?快速分组如何设置?

 

一线商用设备如何高效运维?从这四个方面入手

 

支持中兴新支点服务器操作系统,贝锐向日葵赋能信创国产化

 

面对大量IT设备,企业如何搭建高效运维管理框架?

 

支持AI生成、批量执行;贝锐向日葵发布自动化企业脚本功能

 

不同信创系统如何集中远程运维?贝锐向日葵提供稳定方案

 

分组部署、屏幕墙触达,专业远控方案如何搭建无人值守设备运维体系

 

向日葵企业版新功能:AI审计、脚本下发、Linux服务器版、macOS屏幕墙

 

面对海量设备,企业IT运维能力如何快速触达

 

AI应用如何赋能企业IT运维?贝锐向日葵AI能力解析

 

设备可视化管理,贝锐向日葵新版屏幕墙如何赋能业务?

 

无人值守商用设备如何高效运维?掌握三个要点轻松搞定

 

运维小哥的必备工具!向日葵16更新了哪些好用的运维功能?

 

远程办公

 

协同办公解决方案

 

疫情期间,向日葵助力企业开展远程办公

 

使用开机棒实现异地开机办公

 

假期不宕机:向日葵企业远程办公方案全攻略

 

混合办公时代,向日葵企业版如何远程能力重构企业效能管理

 

三步即可完成部署,贝锐向日葵远程办公方案如何搭建组织架构?

 

国庆假期结束,如何使用向日葵远程控制快速进入工作状态?

 

远程办公增强容灾能力,台风天气贝锐向日葵远程办公方案保业务

 

企业远程办公如何高效部署?和已有IM平台能否高效对接?

 

关注五个具体问题,轻松实现企业远程办公统一管理

 

为何要选择企业版?贝锐向日葵方案搭建企业远程办公的几个优势

 

远程办公对企业有何积极意义?如何高效搭建企业远程办公方案?

 

如何高效搭建企业远程办公体系,三步完成部署即投入使用!

 

远程办公体系搭建后,企业内IT资产如何统一管理?

 

处理好这三个痛点,“无痛”搭建企业远程办公体系

 

远程办公三大难题,贝锐向日葵方案全搞定!

 

企业搭建跨地区远程办公,远控方案需具备哪些能力?

 

全球罕见高温,台风频繁袭扰,企业如何部署远程办公容灾方案?

 

5分钟搞定远控审计!贝锐向日葵推出AI审计功能

 

企业安全远控体系如何搭建?做好“授权”很重要

 

恶劣天气企业如何提升容灾能力?远程控制方案快速很重要

 

解决三大痛点,轻松搭建企业远程办公管理体系

 

告别传统远控窗口,向日葵16“超级桌面”实现无缝远控交互

 

向日葵16如何闪传文件?开启小K助手轻松实现

 

远程控制如何实现“即连即用”,不被锁屏困扰?

 

向日葵16全面升级,远程调试、跨平台开发轻松搞定!

 

技术支持

 

远程客服解决方案

 

把握三个要点,搭建企业远程技术支持安全体系

 

一线客服效率如何提升?向日葵技术支持解决方案功能解析

 

成本仅数千元!企业这样搭建技术支持工单体系

 

企业如何搭建技术支持体系?盘点三个需重点关注的方面

 

如何搭建企业远程技术支持体系?平台思维很重要

 

高效协助、专业形象、客户主导!三方面搭建企业技术支持专业口碑

 

不再零敲碎打,企业如何搭建平台化的技术支持服务?

 

SaaS行业如何高质量服务客户?远程技术支持平台如何搭建?

 

企业售后技术支持如何开展?台风、高温天气远程控制发挥重要作用

 

售后技术支持如何做到专业化:软件定制、高效远控、进度客户可知

 

无论身处何地均可分钟级响应,远程控制已经成为工控运维必备工具

 

企业构建技术支持方案的几个要素:高效远程、软件定制、管理追溯、工单接入

 

无网远控

 

工控机远程监控解决方案

 

解决企业联网限制的办法

 

机房服务器远程维护解决方案

 

无网远控再升级、运维更高效,贝锐向日葵Q2Pro新增远程文件功能

 

更适合技术支持!贝锐向日葵发布智能5G远控设备Q5Pro

 

“小而强”的无网远控,“Mini控控”贝锐向日葵Q1正式发布

 

创领无网远控,贝锐向日葵IPKVM无网远控系列线上销量份额中国第一

 

什么是智能远控硬件?设备不联网如何实现远程控制

 

销量第一背后,贝锐向日葵以智能远控硬件刷新远程运维认知

 

远程培训

 

智慧教育解决方案

 

智慧医疗解决方案

 

网课平台远程维护解决方案

 

异地项目教学与汇报解决方案

 

如何远程控制安卓平板设备?教育行业的远程互动是这样实现的

 

远程互动、设备运维、资源数字化整合,远程控制高效赋能教育领域

 

远程会议

 

远程会议解决方案

 

设计建模

 

下班后甲方又让改稿?不用回公司也能轻松应对!

 

5个相见恨晚的设计远控技巧,让你事半功倍!

 

视觉工作室离不开昂贵工作站?私有化云电脑可作为专业替代方案

 

贝锐向日葵通过“通保三级”认证,“二保一标”打造远控安全新基准

 

企业如何定制专属远控方案?向日葵远程控制全平台定制可用

 

企业如何实施安全远控?事前安全防范如何落地?

 

高效远程办公与服务器运维,向日葵从Linux到信创国产系统全适配

 

远控业务安全如何保障?贝锐向日葵“全流程安全闭环”体系解析

 

远程控制SDK的优势有哪些?什么企业场景适合SDK方案?

 

向日葵16发布:全新超级桌面、无缝融合设备,远控性能全面提升!

 

视频专区

 

智能硬件

 

向日葵 A2使用教程

 

智能远控鼠标连接指南

 

开机插座/插线板教程

 

远程摄像头SU1教程

 

智能插线板P1Pro教程

 

开机盒子使用教程

 

UUPro使用教程

 

开机棒2.0教程

 

智能插线板P4教程

 

向日葵Q1如何用?可控BIOS、支持各类设备!

 

上新!向日葵Q1如何远控手机、iPhone?

 

企业功能

 

基于企业架构管理账号

 

如何自动导入、同步账号

 

批量设备如何快速导入

 

如何开启无痕运行

 

如何定制客户端

 

云录像开启教程

 

审计日志如何查看

 

远控水印开启教程

 

星标客户功能使用指南

 

坐席管理功能使用指南

 

如何快速分组筛选设备

 

云端批量调整远控设置

 

多因子验证如何开启

 

快速了解企业远控情况

 

安卓&SOS版如何定制

 

IT资产如何快速盘点

 

隐私屏如何自定义

 

AI功能

 

向日葵MCP配置(trae版)

 

搜本产品

搜全部

首页 蒲公英 日志审计 成员日志&管理员日志

成员日志&管理员日志

更新日期:2025-12-24 17:24:35

1.成员日志

1.1 VPN连接日志

显示软/硬件成员加入组网的相关信息。

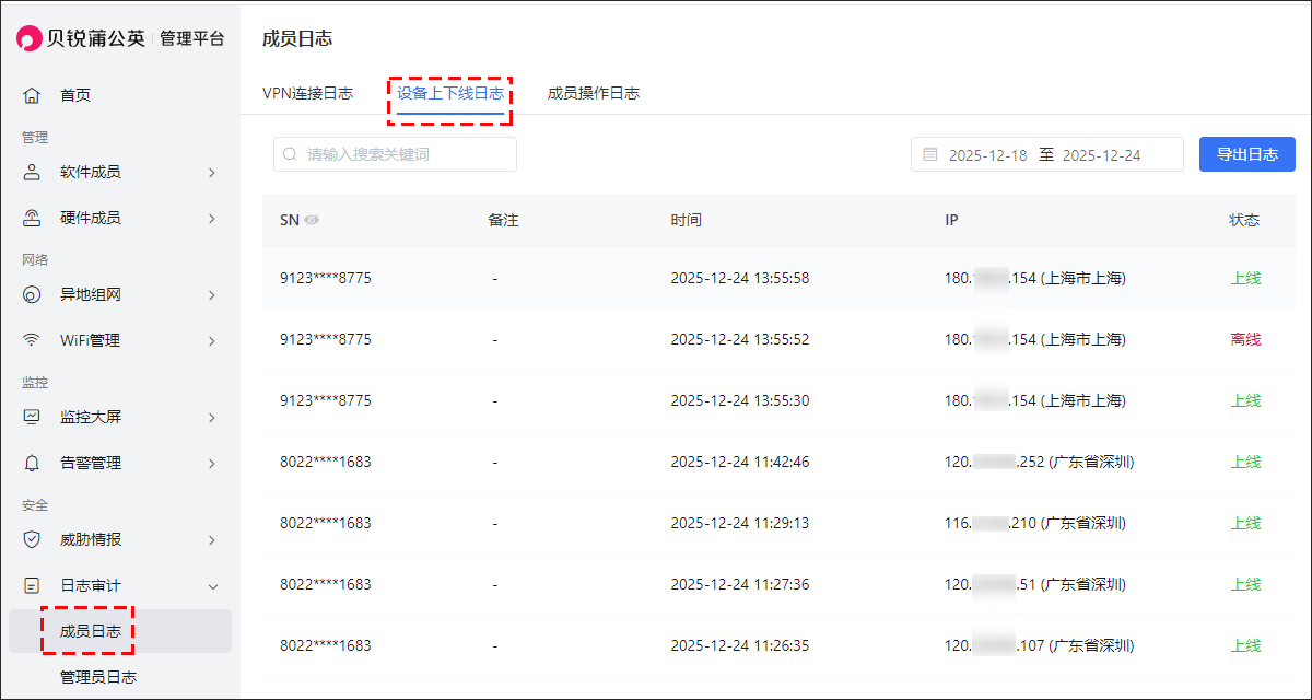
1.2 设备上下线日志

显示当前帐号的硬件设备上/下线记录。

1.3 成员操作日志

显示软/硬件成员的操作记录。

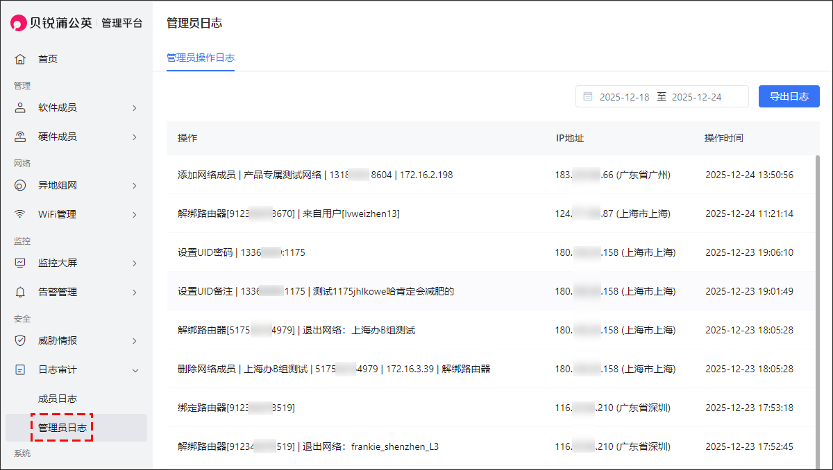
2.管理员日志

显示当前登录帐号所进行的操作记录。

文档内容是否对您有帮助?

是
否

如果遇到产品相关问题,您可咨询 在线客服 寻求帮助。

文档反馈

鼠标选中内容,快速反馈问题

选中文档中有疑惑的内容,即可快速反馈问题,我们将会跟进处理。

示例:

蒲公英路由器

在路由器管理界面,在路由器管理界面,

①DHCP:ON;

②IP地址范围:填写起始和结束地址段;

文档反馈  文档反馈

好的,我知道了

相关问题

· 成员日志&管理员日志

其他问题

· 总部旁路,分部一级组网方案· 端口映射· X5 Pro-多地办公指南· 蒲公英视频组网教程· Helens海伦司· SOHO人员异地获取文件解决方案
文档反馈

本文导读

1.成员日志

1.1 VPN连接日志

1.2 设备上下线日志

1.3 成员操作日志

2.管理员日志

企业定制

贝锐微信公众号

关注公众号领福利

在线客服

AI+专员为您提供7x24小时专业支持

购买咨询

个人:400-601-0000转1(周一至周六 9:00~18:00)

企业: 400-008-5211转1 (周一至周六 9:00~18:00)

政企客户/私有化/SDK嵌入

400-008-5211转2(周一至周五 9:00~18:00)

提交工单

技术顾问为您提供技术支持服务

建议反馈

留下你的宝贵意见和建议,我们将努力改进。

版权所有 © 2026 贝锐

    用户协议  |  服务条款  |  隐私政策

    版权所有 © 2026 贝锐

    在线客服 售后工单 拨打400-601-0000
    在线咨询
    立即购买